欢迎光临电加热不锈钢反应釜-搪玻璃反应罐|搅拌罐-江苏昊阳化工设备官方网站!专业生产:外盘管反应釜、蒸馏罐、搪玻璃储罐、不锈钢反应罐等产品!
客户服务热线:0523-84655165
搪玻璃塔节
搪玻璃塔节
搪玻璃塔节
产品详情 性能参数 结构图

搪瓷塔节的介绍

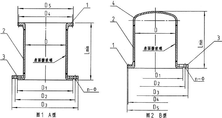
搪瓷塔节又称搪玻璃塔节是搪瓷设备之一,具有一定的防腐性能可分为A型塔节(卡子连接)B型塔节(螺栓法兰连接)两种。

塔节的技术特性表

名称指标
公称直径150-1300
允许工作压力PN≤0.25
允许工作温度0-200
玻璃层耐热急变热120冷110

带夹套的搪玻璃塔节可以在高压下使用,规格除了与一般的搪玻璃塔节相同外,还可以根据客户的要求设计定做。

一、搪瓷塔节的特点:

1、搪玻璃塔节许用温度:搅拌容器使用温度0℃至200℃,贮罐容器使用温度0℃至150℃;设备耐温差及变性,冷冲击:110℃;热冲击:120℃。搪玻璃设备/搪玻璃塔节加热和冷却时,应缓慢进行。

2、搪玻璃层厚度:搪玻璃设备的玻璃层厚度在0.8-2.0mm;搪玻璃设备附件的玻璃厚度在0.6-2.3mm。

3、耐电压:搪玻璃塔节具有良好的绝缘性,玻璃层厚度在规定的厚度内,用20KV高频电火花检查玻璃层时,工作而不导电。

4、耐腐蚀性:能耐各种浓度的无机酸、有机酸、有机溶剂及弱碱的腐蚀(氢氟酸、含氟离子的介质、浓度≥180℃浓磷酸和强碱除外)。

5、不沾性:搪玻璃塔节具有光滑洁净的表面,不宜沾结物料,非常适用于食品及易沾结物料。

二、瓷塔节参数:

压力范围: 0.25(MPa)

加工定制: 是

使用材质: Q235B或按用户要求

型号: A型

介质温度: 0-180(℃)

尺寸范围: 130-1600(mm)

三、搪瓷反应釜技术规范:

1、使用压力:0.2---0.4Mpa

2、耐酸性:对各种有机酸、无机酸、有机溶剂均有较好的抗蚀性。如将我厂生产的搪玻璃试样置于20%HCI溶液中煮沸48h,腐蚀速率为0.9lg/m2.d(优等品指标为1.0g/m2.d)。

3、耐碱性:

搪玻璃对碱性溶液抗蚀性较酸溶液差。但将我厂搪玻璃试样置于1N氢氧化钠溶液腐蚀,试验温度80℃时间48h。腐蚀速率为6.76g/m2.d(优等品指标为7.0g/m2.d)。

4、操作温度:搪玻璃设备加热和冷却时,应缓慢进行。我厂制造的搪玻璃设备使用温度为0-200℃,耐温急变性≥200℃。

5、瓷层厚度:玻璃设备的瓷层厚度0.8-2.0mm,搪玻璃设备附件的瓷层厚度0.6-1.8mm。

6、耐压电:搪玻璃具有良好的绝缘性,当搪玻璃在规定厚度内用20KV高频电火花检查瓷层时,高频电火花不能击穿瓷层。

7、耐冲击性:玻璃层的内应力越小,弹性越好,硬度越大,抗弯抗压强度越高,则耐冲击就越好。我厂之玻璃层在规定厚度内,用直径30mm,重量112g钢球冲击时,其冲击功为282×10-3J(优等品指标为260×10-3J)。

8

搪瓷结构图